Wiring: Power to Mitsubishi RESET pin when E-Stop

From ATTWiki
Revision as of 14:18, 11 December 2009 by Mcone (Talk | contribs)

Jump to: navigation, search

Contents

About

This wiring scheme is used in newer SMT benders. This wiring sends power to the RESET pin on the Mitsubishi drives (both of them) whenever the Master Power and Safety Relay Contactors are deenergized by an E-Stop. This clears the Mitsubishi drives of any faults to prevent the drives from staying in a faulted state when the E-stop is pressed.


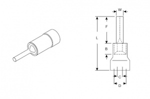
Tools/Parts Needed

Pinterminal.jpg
  • Screwdrivers (assorted sizes)
  • Crimper for terminal pin

14 AWG wire

Vinyl Insulate Terminal Pin for 14 gauge wire (See 159-1617 Kobiconn Terminals Pin Blue 16-14 at Mouser.com)

Gear warning.jpg WARNING!

Only experienced electrical technicians should perform what we describe next.

There can be high voltages and currents of electricity flowing through the electrical panel.

STEP 1: Wire Jump

Wire jump point 22 in M-1 to point 22 in M-2

MitusubishiResetLines01.jpg
MitusubishiResetLines02.jpg

STEP 2: Attach a Power Line

Tap into power by finding wires 2432 at the terminal strip. Run a wire from the strip up to an into point 21 of the M-1 contactor

MitusubishiResetLines03.jpg
MitusubishiResetLines04.jpg

STEP 3: Run the Mitsubishi RESET Wire To M-2

  • Run wire from point 14 in the CN1B cable on the Mitsubishi drives to point 21 of the M-2 connector.
  • There is a cable running from both the Feed and Rotate drives. Point 14 from both cables must be found and used to connect to the M-2 contactor.
  • If the cable is a stock Mitsubishi cable, then there will be many wires in the cable. Wire 14 will be white with a green stripe
  • If there is no wire 14, then you will need to run a small wire (24 AWG) into the connector at the drives. The connectors use solder cups. Solder the wire into point 14 at the CN1B connector.


MitusubishiResetLines05.jpg
MitusubishiResetLines06.jpg

Finished! - Circuit Created

This is an image that shows the circuit created. Click on the image to see a closeup.
MitusubishiResetLines07.jpg

Other Pages